首页 > 新闻中心 > 江苏

@扬中人,10月29日,记得陪爸妈来这儿happy~

来源: 微扬中

2025-10-23 20:44:00

岁岁重阳,今又重阳

10月敬老月

江苏省扬中市养老机构开放日

与“九九重阳暖,一碗慈善面”公益活动

双线暖心开启

邀请老年朋友和家属

走进养老机构、长者爱心食堂

沉浸式感受养老生活的温情关怀

品尝重阳慈善面的满满爱心

养老机构开放日

深度体验幸福养老生活

#深度参观

各机构将带您参观

居住区、餐饮区、休闲区等关键区域

详解特色服务项目

您关心的养老细节

这里都有答案~

#特色活动

文艺演出、康复体验

爱心慰问、联谊互动

……

多种精彩活动

让您沉浸式感受养老生活的乐趣

△往年开放日活动

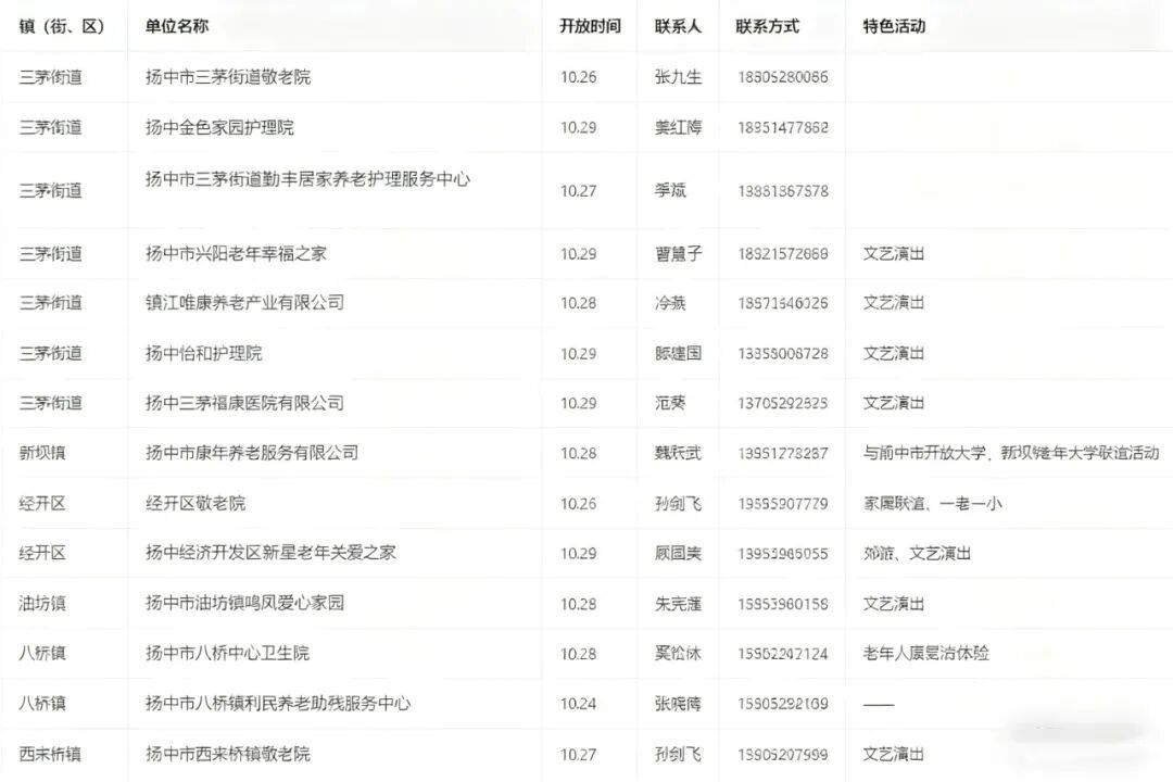
各镇(街、区)养老机构开放详情

(点击图片放大观看)

老年朋友和家属们

养老机构开放日

是您了解养老生活的绝佳机会

要是您对养老机构好奇

或是想给家里老人找个安心住处

开放日来逛逛准没错~

一碗热面

暖到您心坎里

咱扬中老人的重阳节

就得有滋有味

一碗免费热乎的慈善面

不光是让您尝个鲜

也是咱们对长辈们的一份心意

参与对象

辖区内60周岁及以上老年人

时间:10月29日(重阳节当日)

地址:各镇(街、区)长者爱心食堂指定活动点位

活动点位详情↓

对了,还有件重要的事儿

10月29日

扬中市适老生活体验中心开启试营业

想体验的朋友记好时间和地址

服务时间:周一到周五 9:00-17:30

地址:扬中市养老服务指导中心一楼

(英雄社区服务中心对面)

特别提醒

要是想在双休或法定假期去

记得提前打预约电话:0511-88512349

最好的孝顺是陪伴

最实用的孝顺

是给父母一个舒适的晚年生活

记得带上父母参与活动哦!

●扬中首家,盛大开业!居家刚需来这里解决,价格太香了!

●镇扬便民快巴来了!内含详细班次时间,请市民查收~

●公交冬季时刻表来了,10月1日起执行

●急!揭幕战口号征集中!“镇超”扬中队专属福利已备好,就等你了!